布袋除塵器,除塵布袋老牌生產廠家,專注環保行業20年,值的信賴。

免費咨詢熱線
13303066838該發明是含塵高溫煙氣的過濾裝置。
為從含塵煙氣中回收熱能而安裝的鍋爐、熱交換器因傳熱面附有粉塵,從而影響傳熱效率,并使氣流管道造成堵塞。為此,常常在鍋爐與熱交換器上流一側安裝旋風除塵器、布袋除塵器或電除塵器等。
旋風除塵器雖結構簡單且造價低,但除塵效率低,為捕集細微粉塵須多級除塵,而且要較大的風速,為此,又有其增大壓力損失之缺點.布袋除塵器又有其濾布耐熱性何題,一般情況下,其運行溫度為150度,此外,壓力損失也大,其運行費用也相應提高.電除塵器壓力損失較低,而設備費用高,需要較大的設備場地,但它的缺點是受粉塵比電阻影響大,如不充分控制就不會有較好的性能。
該發明考慮以上各種情況,其目的是提供結構簡單、不受粉塵特性、溫度的影響和壓力損失小的廢氣過濾裝置.
這個廢氣過濾裝置的上部和下部設有廢氣出入口。在集塵室的廢氣出入口中部,過濾粒子與安裝的多孔板形成移動層,供給在多孔板上的過濾粒子輸向溜槽,除塵器下部安裝有過灘粒子的儲料倉和排料裝置。
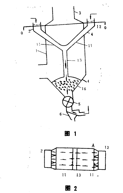
該發明的實例在圖1、圖2中說明.在圖1中,其下部設有廢氣入口2,上部有凈氣出口的集塵室.鍋護與熱交換器等熱回收設備可安裝在出口上方。11為出入口2, 3中間部位。

安裝的多孔板,裝置中心成切向旋轉式傾斜,形成從供料溜槽供給的過漣粒子A的移動層.過濾粒子A通常為硅砂,可用于水泥廠熟料除塵。多孔板的傾斜角是過濾粒子的休止角.4為集塵室下部的過濾粒子儲料倉,多孔板上移動的過濾粒子通過下降部分B到儲料倉儲存。在儲料倉4有許多個傳熱管16.從旋轉閥5排出的附有粉塵的過濾粒子由振動篩6將粉塵分離,過濾粒子由圖6示出的傳送裝置輸送到溜槽以供循環使用.
另外,以上裝置中廢氣是由集塵室下部導入,然后由上部排出.相反,將氣流從上部導入,然后在下部排出也能獲得同樣的效果。而必要時安裝多段多孔板11,則過濾性能更局.
第2個實例由圖3、圖4說明.這里,多孔板21的設置狀態和移動層的形成方法與上述第I個實例有所不同。集塵室成園筒狀,圓板狀的多孔板21水平安裝.旋轉的移動層面安裝有帶多個葉片22a的刮板22,該刮板由馬達傳動軸帶動旋轉,而且在刮板上裝有傳熱管.5是與儲料倉連接安裝的旋轉閥,它用來定量排出過濾粒子,從而調整移動層的移動速度.6是分離過濾粒子與粉塵的振動篩.

而且,要特別調整供綺溜榴12的過濾粒子量與旋轉閥的排出量,以使多孔板上形成數厘米厚的移動層.從廢氣入口進入集塵室的含有大量粉塵的高溫煙氣,在通過移動層時,粉
塵被過濾粒子吸附,凈化后的煙氣從出口4進入廢熱回收裝置用于熱量何收.這里,移動層厚度僅數厘米,因此壓力損失較小,含有粉塵的過濾粒子通過下降部分進入儲料倉儲存.在此,粉塵和過濾粒子的熱量由傳熱管回收.凈氣出口流向安裝的鍋爐、熱交換器的傳熱面積小,廢熱回收設備見圖4,過濾粒子在中心部位的下降周圍移動并保持一定的厚度.這里,多孔板22上的過濾城子不斷移動,并不斷向移動層供給新的過濾粒子,從而達到對大量粉塵的高效率凈化.
第三個實例由圖5說明。這個裝里上的多孔板為耐熱條狀的多孔板31,其上是過濾粒子移動層,傳動多孔板31,過灘粒子在如第二實例中一樣不斷移動。

再一個實例由圖6說明,該裝里與圖I中的第一實例無多大差異,在過濾粒子移動層的第一格多孔板11下部的集塵室,煙氣流動面積狹小一些,在此又安裝了形成過濾料子流動層的第二格多孔板11',流動層之間的第二部分傳熱管16'數量多些。第二格多孔板11'上過濾粒子由第二個溜槽供給,而且,移動層的下降部在第二格多孔板11'的上方切斷,另設下降部分13',

另外,第二格多孔板11'上面形成過濾粒子A的流動層,使第2部分傳熱管能進行高效率的熱回收,這與凈氣流側的鍋爐、熱交換器等熱回收設備比較,可以節省占地面積.因為收塵室1一側第一洛多孔板的設置位渡上的煙氣流路面積大,使移動層上的過濾粒子A,粉塵不至產生沸騰與擴散,粉塵被過濾位子吸附.
圖3所示的第2個實例中,如在多孔板21的下部一側安裝第2格多孔板以形成移動層,便可獲得上述的同樣效果。
上述該發明中的廢氣過濾裝置給構簡單,而且不受粉塵特性與溫度的影響,并且只用較小的壓力損失就能除去廢氣中的粉塵。
圖I、圖2為這項發明的裝置圖,圖1為裝置縱斷面,圖2為圖I中I一I水平斷面.圖3與圖4為另一種裝省,圖3為縱斷面,圖4為圖3中的Ⅳ一Ⅳ水平斷面.圖5與圖6為其它不同型式的裝置斷面圖。
Copyright (c) 2020 www.danyibags.com All rights reserved. 版權所有 泊頭市凈化除塵設備廠 地址:河北省泊頭市四營工業開發區 電話(TEL):0317-8229789 傳真(FAX):0317-8229789 冀ICP備11018605號-1 XML地圖 滄工備:13090002006021