CLT/A型旋風除塵器
- CLT/A型 旋風除塵器 是由旋風筒體,集灰斗和蝸殼(或集風帽)三部分組成,按筒體個數區分, 有單筒,雙筒,三筒,四筒,六筒和等五種組合,每種組合有兩種出風形式:I型水平出風 和II型(...
- 咨詢熱線:13833733360
-
CLT/A型旋風除塵器生產廠家介紹
【CLT/A型旋風除塵器廠家】泊頭市凈化除塵設備廠【20年經驗】,專業做CLT/A型旋風除塵器|價格合理|型號全,質保2年、免費勘測選型提供圖紙參數。
我們根據設備或車間現場工況、安裝位置、安裝空間、粉塵顆粒、粉塵濃度等設計選型。
CLT/A型旋風除塵器規格分(長錐體除塵器、圓筒體除塵器、擴散式除塵器、旁路型除塵器)
CLT/A型旋風除塵器廠家可以根據工況、粉塵顆粒、粉塵濃度、來斷定除塵器的風量、風速、風機功率大小、安裝位置、安裝空間等一系列參數,我們根據以上以上參數來幫你設計、選型、提供結構圖紙、技術參數等,有貴公司審核后我們安排做。
我公司擁有:繪圖部、技術部、研發部、制作部、質檢部、裝配部、安裝部、采購部、銷售部、售后服務部等。
除塵設備做排序:看圖下料、檢驗下料尺寸、車間焊接、組裝焊接、綜合檢驗、整體完成后試機、噴漆、新產品出爐、發貨、現場安裝、客戶驗收、竣工完成。
擁有設備:除塵骨架拉絲機,骨架焊接機、車床、沖床、剪板機、焊接機、卷管機、等。
擁有:除塵布袋制造車間、除塵骨架制造車間、除塵設備制造車間等。
我們是一條龍制作、銷售、售后服務、質量有保證、中間外協加工少、減少了設備成本、又能控制產品質量、價格合理。
我公司可以提供現場勘測、幫你設計選型、提供結構圖紙、工作原理、技術參數、售前、售后服務貼心。
-
CLT/A型旋風除塵器產品詳情
CLT/A型旋風除塵器 是由旋風筒體,集灰斗和蝸殼(或集風帽)三部分組成,按筒體個數區分, 有單筒,雙筒,三筒,四筒,六筒和等五種組合,每種組合有兩種出風形式:I型水平出風 和II型(上部出風)。對于I型雙筒組合者,另有正中進出風和旁側進出風兩種組合形式,I 型單筒和三筒只有旁側進出風一種形式,四筒和六筒組合則只有正中進出風形式,對于型各 種組合,可采用上述I型中的任意一種進風位置,該種旋風除塵器具有阻力小,除塵效率高, 處理風量大,性能穩定,占地面積小,結構簡單,實用廉價等特點。適用于種機械加工,冶金建材,礦山采掘的粉塵粗、中級凈化。
-
CLT/A型旋風除塵器價格行情
-
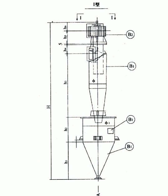
CLT/A型旋風除塵器結構圖紙
CLT/A型旋風除塵器結構圖紙免費提供,下面展示的是常見、常用的CLT/A型旋風除塵器結構圖紙,其它分多個型號規格,是由于網頁空間條件限制不能依依展示,大多數結構圖紙是根據現場的需要專門量身訂做的CLT/A型旋風除塵器結構,上門測量是實地勘測的,提供貼切的CLT/A型旋風除塵器結構圖紙。







